发布时间:2016-12-29 09:15 我来说说 我要投稿
新学期就要到了,家里的小娃娃也该入园了,哪些民办幼儿园合格?哪些幼儿园不达标?近期各区也在逐步公布民办幼儿园年检结果,一起来看看~
惠济区教体局最新公布的信息:


特别提示
不合格幼儿园(1所):
惠济区家和幼儿园
自行停办民办幼儿园名单(18所):
惠济区鑫蕾幼儿园
惠济区老鸦陈幼儿园
惠济区爱心幼儿园
惠济区双桥龙凤幼儿园
惠济区小天使幼儿园
惠济区金鹤幼儿园
惠济区金色阳光幼儿园
惠济区童馨幼儿园
惠济区惠济之星幼儿园
惠济区亿童幼儿园
惠济区喜洋洋幼儿园
惠济区天乐幼儿园
惠济区振宇幼儿园
惠济区慧尔教育幼儿园
惠济区好孩子幼儿园
惠济区中山幼儿园
惠济区妇联会小太阳幼儿园
惠济区新星幼儿园
(本信息据惠济区教体局)
高新区
郑州高新区教育信息网上,关于民办幼儿园的信息非常完备:

特别提示
名单显示有两所幼儿园在2014年、2015年年审连续不合格:
郑州高新区育杰幼儿园:郑州高新区丁香里中段;
郑州高新区金钥匙幼儿园:高新区莲花街。
(信息据郑州高新区教育信息网)
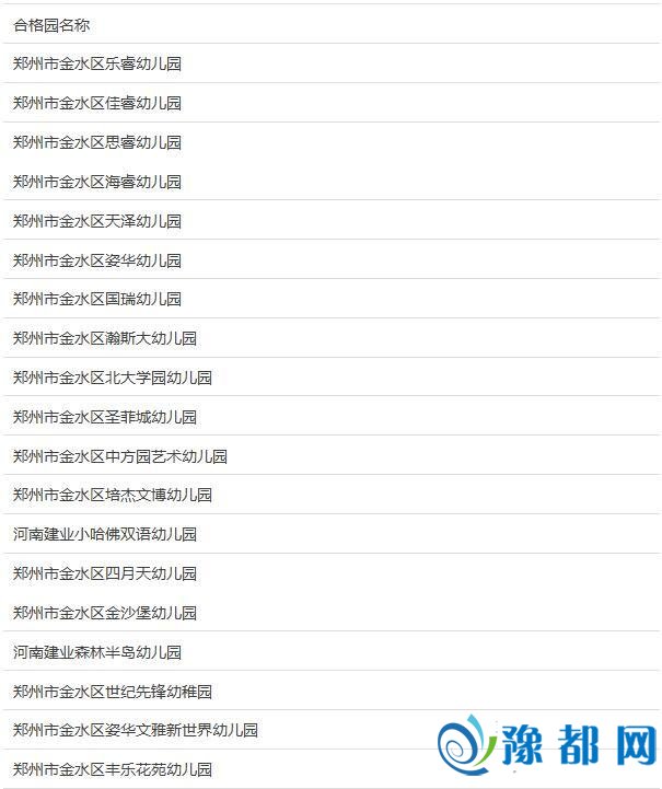
金水区














郑州经济开发区

(信息据郑州市教育局和郑州民办教育网等)
二七区
这是二七区政府教育督导室去年发布的信息,大家可参考:




(信息据二七区人民政府教育督导室)
如果发现幼儿园不合理问题,可拨打以下电话举报:

《权威数据 郑州各区民办幼儿园哪些不达标》由河南新闻网-豫都网提供,转载请注明出处:http://news.yuduxx.com/mszx/529782.html,谢谢合作!
豫都网版权与免责声明
1、未经豫都网(以下简称本网)许可,任何人不得非法使用本网自有版权作品。
2、本网转载其他媒体之稿件,以及由用户发表上传的作品,不代表本网赞同其观点和对其真实性负责。
3、如因作品版权和其它问题可联系本网,本网确认后将在24小时内移除相关争议内容。